|
|
|
|
CYDK-II型两点调节压力开关
|
| 一、产品介绍: |
二、实物图例: |
CY-DKII型两点调节压力开关是以高精度压力传感器作为检测元件,用高稳定电路产生开关信号,实现压力连续测量和开关量控制。
具有精度高,迟滞小,响应快,性能稳定可靠,体积小,易操作和安装简便灵活的优点。广泛应用于化工、机械、水文、电力等系统的气体、液体的压力控制和自动化控制,外接中间继电器可以完成多种控制功能。
|
 |
三
、技术参数:
|
量
程
|
0~0.1……60(Mpa)
|
|
压 力 形 式
|
表压、差压、液位 |
|
输 出 信 号
|
低电平≤0.5,高电平≥4.5的开关量信号(v) |
|
上下限设定范围
|
|
上限:下限设定最高值~上限设定最高值
|
|
下限:0~上限设定最低值
|
|
长 期 稳 定 性
|
≤0.5 (%FS/年)
|
|
工 作 电 压
|
+18~+24 (V)
|
|
补 偿 温 度
|
-10~+80(℃)
|
|
存 储 温 度
|
-40~+120(℃)
|
|
膜 片 材 料
|
316L不锈钢
|
|
壳 体 材 料
|
1Cr18Ni9Ti 和铝合金
|
|
接 口
|
M20×1.5或用户自定
|
|
防 爆 等 级
|
ExibIICT6
|
|
防 护 等 级
|
IP65
|
|
| 四、特
点:
|
1、II型为压力控制点在量程范围内可设定调节的产品
2、采用压力传感器
3、调节无死区,零点至满量程设定点任意调整
4、比机械压力开关精度高,响应快
5、开关信号可靠
6、本安防爆
|
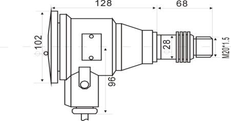
| 五、外型结构:
|
|
|
六、电器连接:
|
|
型 号
|
含 义
|
|
CYDKI-
|
单点调节压力开关
|
|
II
|
两点调节压力开关
|
|
III
|
智能数显压力开关
|
|
1
|
普通压力开关
|
|
2
|
带滞后回差型
|
|
A
|
外螺纹尺寸:M14×1.5
|
|
B
|
外螺纹尺寸:M20×1.5
|
|
C
|
外螺纹尺寸协商定制
|
|
O
|
输出方式:光耦
|
|
M
|
输出方式:COMS
|
|
J
|
输出方式:继电器
|
|
1
|
18~24VDC供电
|
|
2
|
220VAC供电
|
|
|
|